
产品分类
更新时间:2023-06-19
浏览次数:587胡冠楠
开云网页版登录入口电气股份有限公司 上海嘉定
摘要:本文详细的介绍预付费电子电能表用途、特点、适应范围、结构、原理及其性能。
关键词:预付费电子电能表,原理,性能
0 引言
铁路电力计量是铁路电力管理工作的重要内容。随着时代的发展和科技的进步,有着诸多缺点的机械电磁式电度表逐步在被淘汰,新型的预付费电子电能表被大量的推广和使用。在现阶段在铁路电力计量中使用广泛是单相预付费电子电能表。单相预付费电子电能表是在普通单相电子式电能表基础上增加了微处理器、IC卡接口和表内跳闸继电器构成的。它通过IC卡进行电能表电量数据以及预购电费数据的传输,通过继电器自动实现欠费跳闸功能,为解决抄表收费问题提供了有效的手段。
1 用途、特点和适应范围
应用计算机管理,先购电后用电;在额定电流范围内能限制上限使用功率(由供电部
门限定);一表一卡,专卡专用,失卡不失电,补卡再用;电卡能双向传递数据;能自动断电告警和用户购电;电量为零时,自动拉闸断电;并具有一定的防窃电软件设计等。预付费电子式电能表适用于频率为50Hz或60Hz有功电能计量,安装于室内或室外表箱内使用。适用于环境温度为10-50,相对湿度不超过85,且周围空气中不应有腐蚀性气体,避免尘砂、盐雾、凝露等影响。
2 基本原理
电能表由分压器取得电压采样信号,分流器取得电流采样信号,经乘法器得到电压电
流乘积信号,再经频率变换产生一个频率与电压电流乘积成正比的计数脉冲,通过分频,驱
动步进电机计量电度。工作原理图如下。
3 IC卡技术
在预付费电能表中IC卡技术是一个关键技术。IC卡是集成电路卡(Intergrated CircuitGard)的简称。它将集成电路镶在塑料卡片上。它与磁卡比较有接口电路简单、保密性好、不易损坏、存储容量大、寿命长等特点。IC卡中的芯片分为不挥发的存储器(也称存储卡)、保护逻辑电路(也称加密卡)和微处理单元(也称CPU卡)三种。在电能表上使用的卡,这三种都有,接口往往采用串行方式的接触式卡。下面对各种卡的构成特点及使用特点作简单介绍。
3.1存储卡
大量使用的存储卡中,可以分为以下3种。(1)只读型。数据一次性写入存储器不可更改,往往由ROM或PROM存储器构成,其价格非常低廉,但数据内容不可改变,适用于游戏卡、特定标识卡等。
(2)计数型。芯片采用熔丝式的电路或存储单元锁死的电路,单元初始状态为1(未
熔断或未锁死),当需要改写时,把相关单元熔丝烧断,单元状态变为0。计数卡简单可靠,
数据内容不可改写,有很高的安全性,成本也较低;缺点是卡不可以改写,不能重复充值使
用。它适用于电话卡、加油收费卡等。
(3)充值型。芯片采用电可擦除的存储电路,可以重复改写多次(一般为1万次以上),
数据保持时间一般大于10年。它适用于卡的数据需要反复改写的场合,如收费卡、公路卡
等。
3.2加密卡
加密卡由电可擦除存储单元和密码控制逻辑单元构成,对于存储区数据的读写受到逻
辑单元的控制不能任意进行,需要先核对密码后才可以操作,否则卡将被锁死。这样可以大大提高卡的安全保密性能。
加密卡中分主存储区、保护存储区、加密存储区三部分。其中主存储区数据可以任意读写。保护存储区数据可以任意读出,但改写需要先送“检验字",芯片将检验字与存在加密存储区的密码比较,当检验结果一致时,控制逻辑打开存储器,可以进行写入。检验字比较次数限定4次,如果连续4次检验出错,芯片将锁死,整个芯片只能读出,不能再使用。加密存储区为存放密码和比较计数值的区域,此区域在校验字未比较成功前不能读写。
3.3 CPU卡
在卡上集成了存储器及微处理器。由于有了微处理器,CPU卡可以进行各种较为复杂的运算,而且从总线上直接进行检验字比较变为间接的卡的认证和识别,排除了从总线上破
译密码的可能,安全性能有了很大提高。目前CPU卡已在金融卡中广泛使用。IEC7S16国际标准中,对CPU卡的结构、数据接口都有规定。
4 主要功能
(1)计量功能。计量有功电量,有功正向有功十反向有功。
(2)功率脉冲输出。脉冲宽度80±5ms,空触点输出,同时有脉冲LED指示。
(3)负荷控制。具有超功率自动断电的负荷控制功能,可以设置功率限额以及允许次
数,当平均功率大于限额后,电能表跳闸并显示当时的功率。使用用户购电卡插入电能表可
以恢复供电。但当超功率跳闸次数超过设定的允许次数时,电能表将不可恢复供电,只有使
用了参数设置卡改变了功率限额后,才恢复供电。
(4)防窃电功能。具有自动检测短接电流回路的防窃电功能,当短接进出线时,电能
表显示“O"并且记录窃电次数。
(5)显示。LCD显示可以设置自动及手动(按钮切换)方式显示如下几项数据:01:有功总电量;02:剩余电费;03:费率;04:剩余电费报警限额;05:功率限额;06:允许过载跳闸次数;07:电能表常数;08:电能表编号。
(6)报警显示。当电能表自检出现故障时,显示:E1X X X X X——存储器故障;E2X X X X X——继电器故障;E3X X X XX——时钟故障。
(7)预付费功能。使用购电卡可购电量送入电能表,电能表按设定的费率递减,当剩
余电费小于设定的报警门X时,电能表跳闸,提醒用户去购电;此时插入购电卡可以恢复供
电。当剩余电费小于0后,电能表将跳闸,直到购电后才恢复供电。
5 开云网页版登录入口单相预付费电能表在远程预付费系统中的应用
5.1系统简介
系统为B/S架构,主要包括前端管理网站和后台集抄服务,配合公司的预付费电表DDSY1352和DTSY1352系列以及多用户计量箱ADF300L系列,实现电能计量和电费管理等功能。
5.2系统功能
AcrelCloud-3200预付费水电云平台由云平台-网关-预付费电能表组成,通过通信网络完成系统到表的充值、查询、监控、控制及短信报警等功能。
本系统适用于一些大集团和大物业,往往需要将多个物业环境、分散于各地的物业集中式收费和管理,面临着数据公网传输,财务操作分散,在线支付,总部财务扎口等复杂的需求。
远程集中抄表:抄表信息通过网关实时上传到云平台,快速便捷,免去人工抄表。
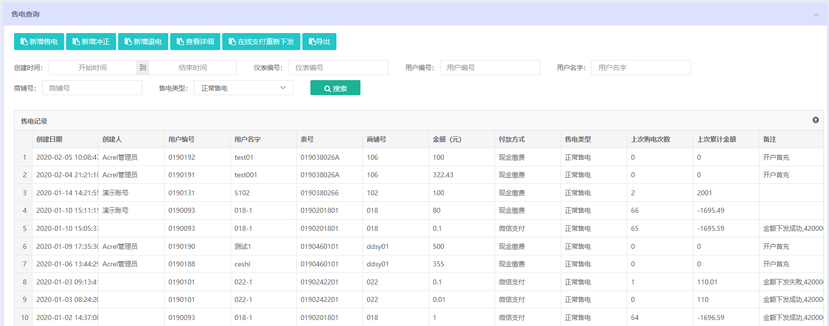
远程售电:财务集中管理,电量实时下发,并比对充值次数防止Z弊,方便快捷。
能耗分析:用户和管理员都可查询预付费表或管控表每天的用能状况;可提供能耗分析+财务轨迹一体式综合管理报表,包含用户表的能耗、财务数据、能耗和财务的期初期末值等数据。
在线支付:商户可以通过小程序或者微信公众号实现在线自助充值水电费,也可以实时关注商铺用水用况。
短信提醒:金额不足或金额欠费提醒、电表充值到账提醒,都可及时短信通知商户。
远程控制:可对任意一块电表执行远程拉闸或保电等一系列远程控制操作,方便管理。
5.3设备选型
设备名称 | 型号 | 主要功能 |
单相导轨预付费电表 | DDSY1352-Z | 单相全电参量测量;可支持费控,时控,负控;支持射频卡或远程充值;内置磁保持继电器实现通断;电流规格:10(60)A,有功电能精度1级;1路RS485/Modbus |
单相 DDSY1352-RF | 单相全电参量测量;可支持费控,时控,负控;支持远程充值;内置磁保持继电器实现通断;电流规格:10(60)A,有功电能精度1级;1路RS485/Modbus | |
单相 DDSY1352-NK | 电流规格10(60)A、单相电能计量、内置磁保持继电器、电能脉冲输出、RS485通讯接口、Modbus-RTU协议、LCD液晶显示,配套充值终端或远程售电系统实现预付费 |
参考文献:
[1]张建芳.浅谈单相预付费电子电能表的功效[J].
[2]开云网页版登录入口企业微电网设计与应用手册.2020.06版.